КАУ5-Т1+Т2-12
Chanan
| штат: | |
|---|---|
| Количество: | |
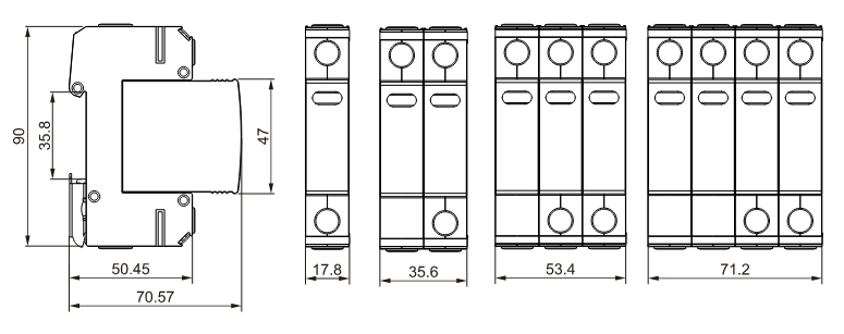
CAU5-T1+T2-12 представляет собой серию устройств защиты от импульсного разряда переменного тока (Iimp) класса I+II 12,5 кА.Они специально разработаны для обеспечения защиты от непрямых и прямых ударов молнии малой интенсивности.Эти УЗИП оснащены высокоэнергетическими металлооксидными варисторами, обеспечивающими малое время срабатывания и характеристики, подходящие для защиты как класса I, так и II.
Таблица 1
| Кол-во полюсов | 1П | 2П | 3П | 4П | 1П+НПЕ | 3P+NPE |
| Сетевые системы | TN-S,TN-C,TT(только LN) | ТН-С | ТН-С | ТН-С | ТТ,ТН-С | |
| Режим защиты | L-PE,N-PE(только TN-S), L-PEN,LN | Л-ПЭ, Н-ПЭ | L-PEN | Л-ПЭ, Н-ПЭ | ЛН,Н-ПЭ | |
| Защитные элементы | Высокоэнергетический ДВС | Высокоэнергетические MOV и GDT | ||||
Таблица 2
| Макс.постоянное рабочее напряжение | Uc(ЛН) | 150 В | 275В | 320В | 385В |
| Uc(N-PE) | 255В | ||||
| Импульсный разрядный ток (10/350 мкс) | lимп | 12,5 кА | |||
| Номинальный ток разряда (8/20 мкс) | In | 30 кА | |||
| Максимальный ток разряда (8/20 мкс) | IМакс | 60кА | |||
| Уровень защиты по напряжению (LN)/(N-PE) | Up | 1,2 кВ/1,5 кВ | 1,5 кВ/1,5 кВ | 1,6 кВ/1,5 кВ | 1,8 кВ/1,5 кВ |
| Уровень защиты по напряжению 5 кА | ≤0,6 кВ | ≤1,0 кВ | ≤1,2 кВ | ≤1,3 кВ | |
| Время отклика (LN)/(N-PE) | тА | ≤25 нс/≤100 нс | |||
| Диапазон рабочих температур | Вт | от -40℃ до +80℃ | |||
| Макс.резервный предохранитель | 160А гЛ/гГ | ||||
| Индикация рабочего состояния/неисправности | Зеленый/красный (LN), желтый (N-PE) | ||||
| Площадь поперечного сечения (Мин.)/(Макс.) | 4 мм²/35 мм² | ||||
| Для установки на | DIN-рейка 35 мм | ||||
| Закрытый материал | Термальный пластик UL94-V0 | ||||
| Степень защиты | IP20 (встроенный) | ||||
Устройства защиты от перенапряжений переменного тока типа 1+2 с импульсным током разряда 12,5 кА предназначены для надежной защиты от перенапряжений в различных приложениях.Вот как они обычно используются:
Промышленные объекты: Эти устройства защиты от перенапряжения идеально подходят для защиты служебных входов на промышленных объектах, особенно на тех, где уже есть системы молниезащиты или сетчатые ограждения.Их высокая разрядная способность гарантирует, что они смогут выдерживать значительную энергию, связанную с прямыми ударами молнии, тем самым защищая электрическую инфраструктуру объекта и чувствительное оборудование.
Суровые условия: Конструкция этих сетевых фильтров часто отличается высокой степенью надежности, что делает их пригодными для суровых промышленных условий.Они выдерживают высокие ударные нагрузки и виброустойчивость, обеспечивая надежность в тяжелых условиях.
Защита здания: Устройства защиты от перенапряжения типа 1+2 с номиналом 12,5 кА также используются в коммерческих и жилых зданиях для защиты главных распределительных щитов.Они служат основной защитой от скачков напряжения, которые могут попасть в электрическую систему из внешних источников.
Соответствие стандартам: Установка такого сетевого фильтра помогает обеспечить соответствие международным и национальным стандартам безопасности, которые часто требуют защиты от переходных перенапряжений для предотвращения пожара и повреждения оборудования.
Крупные объекты и комплексы: Учитывая высокую мощность импульсного разрядного тока, эти устройства защиты от перенапряжения особенно хорошо подходят для крупных объектов, таких как больницы, центры обработки данных и производственные предприятия, где потенциальное воздействие скачков напряжения может быть значительным.
Таким образом, устройство защиты от перенапряжений типа 1+2 с номинальным током импульсного разряда 12,5 кА обеспечивает важный уровень защиты в средах, подверженных риску как прямых, так и непрямых ударов молнии, а также других источников электрических скачков.Они являются важнейшим компонентом в обеспечении целостности электрических систем в широком спектре промышленных, коммерческих и жилых помещений.
CAU5-T1+T2-12 представляет собой серию устройств защиты от импульсного разряда переменного тока (Iimp) класса I+II 12,5 кА.Они специально разработаны для обеспечения защиты от непрямых и прямых ударов молнии малой интенсивности.Эти УЗИП оснащены высокоэнергетическими металлооксидными варисторами, обеспечивающими малое время срабатывания и характеристики, подходящие для защиты как класса I, так и II.
Таблица 1
| Кол-во полюсов | 1П | 2П | 3П | 4П | 1П+НПЕ | 3P+NPE |
| Сетевые системы | TN-S,TN-C,TT(только LN) | ТН-С | ТН-С | ТН-С | ТТ,ТН-С | |
| Режим защиты | L-PE,N-PE(только TN-S), L-PEN,LN | Л-ПЭ, Н-ПЭ | L-PEN | Л-ПЭ, Н-ПЭ | ЛН,Н-ПЭ | |
| Защитные элементы | Высокоэнергетический ДВС | Высокоэнергетические MOV и GDT | ||||
Таблица 2
| Макс.постоянное рабочее напряжение | Uc(ЛН) | 150 В | 275В | 320В | 385В |
| Uc(N-PE) | 255В | ||||
| Импульсный разрядный ток (10/350 мкс) | lимп | 12,5 кА | |||
| Номинальный ток разряда (8/20 мкс) | In | 30 кА | |||
| Максимальный ток разряда (8/20 мкс) | IМакс | 60кА | |||
| Уровень защиты по напряжению (LN)/(N-PE) | Up | 1,2 кВ/1,5 кВ | 1,5 кВ/1,5 кВ | 1,6 кВ/1,5 кВ | 1,8 кВ/1,5 кВ |
| Уровень защиты по напряжению 5 кА | ≤0,6 кВ | ≤1,0 кВ | ≤1,2 кВ | ≤1,3 кВ | |
| Время отклика (LN)/(N-PE) | тА | ≤25 нс/≤100 нс | |||
| Диапазон рабочих температур | Вт | от -40℃ до +80℃ | |||
| Макс.резервный предохранитель | 160А гЛ/гГ | ||||
| Индикация рабочего состояния/неисправности | Зеленый/красный (LN), желтый (N-PE) | ||||
| Площадь поперечного сечения (Мин.)/(Макс.) | 4 мм²/35 мм² | ||||
| Для установки на | DIN-рейка 35 мм | ||||
| Закрытый материал | Термальный пластик UL94-V0 | ||||
| Степень защиты | IP20 (встроенный) | ||||
Устройства защиты от перенапряжений переменного тока типа 1+2 с импульсным током разряда 12,5 кА предназначены для надежной защиты от перенапряжений в различных приложениях.Вот как они обычно используются:
Промышленные объекты: Эти устройства защиты от перенапряжения идеально подходят для защиты служебных входов на промышленных объектах, особенно на тех, где уже есть системы молниезащиты или сетчатые ограждения.Их высокая разрядная способность гарантирует, что они смогут выдерживать значительную энергию, связанную с прямыми ударами молнии, тем самым защищая электрическую инфраструктуру объекта и чувствительное оборудование.
Суровые условия: Конструкция этих сетевых фильтров часто отличается высокой степенью надежности, что делает их пригодными для суровых промышленных условий.Они выдерживают высокие ударные нагрузки и виброустойчивость, обеспечивая надежность в тяжелых условиях.
Защита здания: Устройства защиты от перенапряжения типа 1+2 с номиналом 12,5 кА также используются в коммерческих и жилых зданиях для защиты главных распределительных щитов.Они служат основной защитой от скачков напряжения, которые могут попасть в электрическую систему из внешних источников.
Соответствие стандартам: Установка такого сетевого фильтра помогает обеспечить соответствие международным и национальным стандартам безопасности, которые часто требуют защиты от переходных перенапряжений для предотвращения пожара и повреждения оборудования.
Крупные объекты и комплексы: Учитывая высокую мощность импульсного разрядного тока, эти устройства защиты от перенапряжения особенно хорошо подходят для крупных объектов, таких как больницы, центры обработки данных и производственные предприятия, где потенциальное воздействие скачков напряжения может быть значительным.
Таким образом, устройство защиты от перенапряжений типа 1+2 с номинальным током импульсного разряда 12,5 кА обеспечивает важный уровень защиты в средах, подверженных риску как прямых, так и непрямых ударов молнии, а также других источников электрических скачков.Они являются важнейшим компонентом в обеспечении целостности электрических систем в широком спектре промышленных, коммерческих и жилых помещений.